GM Service Manual Online
For 1990-2009 cars only
Makes
🢒
Cadillac
🢒
1999
🢒
Eldorado
🢒
Body and Accessories
🢒
Wipers/Washer Systems
🢒 Wiper/Washer System (Pulse) Schematics
Wiper/Washer System (Pulse) Schematics w/CE1
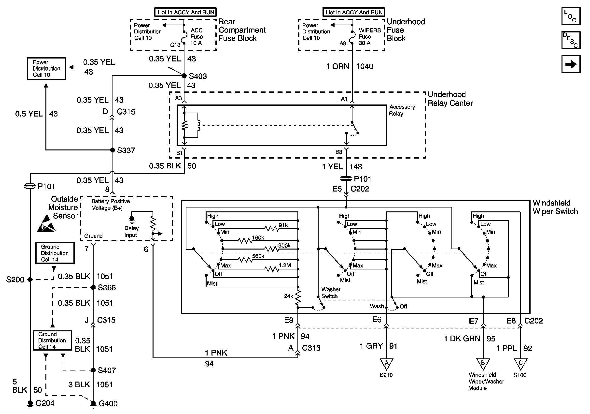
Cell 91: Power, Ground, and Switch Outputs
Wiper/Washer System Components
Wiper/Washer System Description Rainsense
Cell 91: Module Inputs
Cell 10: WIPERS, ACC, and CLUSTER Fuses
Cell 10: LH Underhood Fuse Block IGN 1 Fuse
Cell 10: WIPERS, ACC, and CLUSTER Fuses
Handling ESD Sensitive Parts Notice
Cell 14: G204
Cell 14: G400 (1 of 2)
Cell 91: Module Inputs
Cell 91: Module Inputs
Cell 91: Module Inputs
Cell 91: Module Inputs
Wiper/Washer System Components
Wiper/Washer System Description Rainsense
Cell 91: Power, Ground, and Switch Outputs
Cell 82: Instrument Cluster, Ignition Lock Cylinder
Cell 91: Power, Ground, and Switch Outputs
Cell 91: Power, Ground, and Switch Outputs
Cell 91: Power, Ground, and Switch Outputs
Handling ESD Sensitive Parts Notice
Handling ESD Sensitive Parts Notice
Cell 14: G101 (DeVille)
Wiper/Washer System (Pulse) Schematics w/o CE1
Cell 91
Wiper/Washer System Components
Wiper/Washer System Description Pulse
Cell 10: WIPERS, ACC, and CLUSTER Fuses
Cell 10: LH Underhood Fuse Block IGN 1 Fuse
Cell 10: WIPERS, ACC, and CLUSTER Fuses
Cell 14: G204
Cell 82: Instrument Cluster, Ignition Lock Cylinder
Cell 14: G101 (DeVille)
Handling ESD Sensitive Parts Notice