GM Service Manual Online
For 1990-2009 cars only
Figure 1:

Cell 51: Body Control Module Power and Ground


Object Number: 317821  Size: FS
Data Link Communications Components
Cell 51: Body Control Module Inputs and Outputs (1 of 4)
Cell 10: BATT 2 and BATT 3 Fuses and the Ignition Switch Outputs
Cell 10: WIPERS, ACC, and CLUSTER Fuses
Cell 10: IGN 0 BODY Fuse (DeVille)
Cell 10: BATT 2 and BATT 3 Fuses and the Ignition Switch Outputs
Cell 10: IGN 0 BODY Fuse (Eldorado)
Cell 10: IGN 0 BODY Fuse (DeVille)
Cell 10: BODY 2 Fuse
Cell 10: BODY 2 Fuse
Handling ESD Sensitive Parts Notice
Cell 136
Cell 14: G400 (1 of 2)
Cell 14: G205
Body Control System Description
Figure 2:

Cell 51: Body Control Module Inputs and Outputs (1 of 4)


Object Number: 317825  Size: FS
Cell 10: MIRROR, FOG, and DRL Fuses
Cell 10: LH Underhood Fuse Block IGN 1 Fuse
Cell 10: LAMPS Fuse
Cell 10: Battery Power to Fuse Blocks
Cell 10: INADVERT Fuse
Cell 10: RLY IGN 1 Fuse
Cell 50: Power, Ground and Class 2
Cell 50: Power, Ground and Class 2 (Export)
Cell 40: Two Note
Cell 10: INT LPS Fuse (1 of 2)
Handling ESD Sensitive Parts Notice
Data Link Communications Components
Cell 51: Body Control Module Inputs and Outputs (2 of 4)
Cell 51: Body Control Module Power and Ground
Body Control System Description
Cell 10: CIG LTR 1 and CIG LTR 2 Fuses
Figure 3:

Cell 51: Body Control Module Inputs and Outputs (2 of 4)


Object Number: 317829  Size: FS
Cell 51: Body Control Module Inputs and Outputs (3 of 4)
Data Link Communications Components
Body Control System Description
Cell 51: Body Control Module Inputs and Outputs (1 of 4)
Cell 10: COMFORT Fuse
Cell 10: BODY 3 Fuse
Cell 15: PZM, RAP Power, and Relay
Cell 10: RADIO/PHONE Fuse
Cell 10: RSS, PZM, and AMP Fuses
Cell 10: WIPERS, ACC, and CLUSTER Fuses
Cell 15: RAP Relay Feeds/Battery Protection Circuits
Handling ESD Sensitive Parts Notice
Figure 4:

Cell 51: Body Control Module Inputs and Outputs (3 of 4)


Object Number: 317830  Size: FS
Cell 51: Body Control Module Inputs and Outputs (4 of 4)
Cell 51: Body Control Module Inputs and Outputs (2 of 4)
Headlights Schematics DeVille USA
Headlights Schematics DeVille Export
Headlights Schematics Eldorado USA
Headlights Schematics Eldorado Export
Headlights Schematics DeVille USA
Headlights Schematics DeVille USA
Headlights Schematics Eldorado USA
Headlights Schematics Eldorado USA
Headlights Schematics Eldorado Export
Headlights Schematics DeVille Export
Headlights Schematics DeVille USA
Headlights Schematics DeVille Export
Headlights Schematics Eldorado USA
Headlights Schematics Eldorado Export
Cell 103: Front Fog Lamps
Cell 103: Rear Fog Lamps
Door Lock/Indicator Schematics
Body Control System Description
Data Link Communications Components
Door Lock/Indicator Schematics
Door Lock/Indicator Schematics
Door Lock/Indicator Schematics
Interior Lights Schematics Eldorado
Door Lock/Indicator Schematics
Handling ESD Sensitive Parts Notice
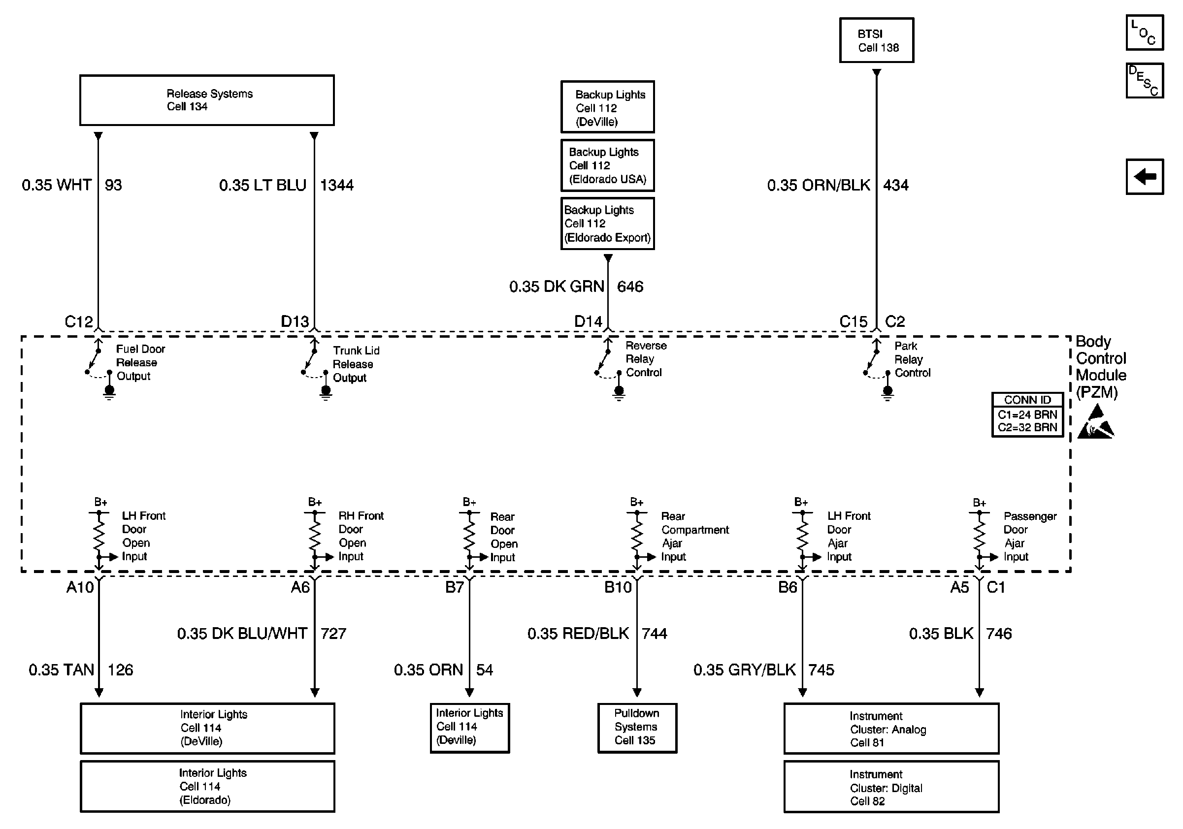
Figure 5:

Cell 51: Body Control Module Inputs and Outputs (4 of 4)


Object Number: 317832  Size: FS
Body Control Module Components
Cell 51: Body Control Module Inputs and Outputs (3 of 4)
Release Systems Schematics
Backup Lamp Schematics DeVille
Automatic Day-Night Mirrors Schematics
Shift Lock Control Schematics
Handling ESD Sensitive Parts Notice
Body Control System Connector End Views
Theft Deterrent System Schematics
Interior Lights Schematics DeVille
Pulldown Systems Schematics
Instrument Cluster: Analog Schematics
Audible Warnings Schematics
Instrument Cluster: Analog Schematics
Instrument Cluster: Analog Schematics